污水治理
1)臭氧催化氧化技术
臭氧催化氧化技术是一种新型的高级氧化技术,采用自主开发的催化剂和臭氧多点投加系统,提高臭氧的利用率和氧化能力,可在常温常压下将难以单独臭氧氧化或降解的有机物进行氧化。应用于污水前处理,使大分子和高分子有机物化学键断裂,提高污水的可生化性;应用于污水深度处理,保障污水达标排放。本技术已获得专利授权。


催化剂


反应器
2)水解反硝化技术
水解反硝化脱氮系统以升流式污泥床水解反应器取代传统的缺氧池,合理比例的沉淀池污泥回流至水解反应器,进行水解反硝化脱氮。水解反应器作为前置反硝化脱氮的功能区,利用水解反应器中良好的无氧环境、反硝化细菌功能的快速恢复能力和有机物的充足供给能力,实现高效、稳定的水解反硝化脱氮。拥有自主知识产权的布水器专利设备,使污水均匀分布,上升流速稳定,污泥床层高度和密实度合理,提升污水中各项指标的去除率。本技术不仅解决城镇污水低碳氮比情况下的总氮达标、污泥减量和能耗偏高的问题,同时达到污泥减量化的效果。

水解反硝化+A/O组合工艺
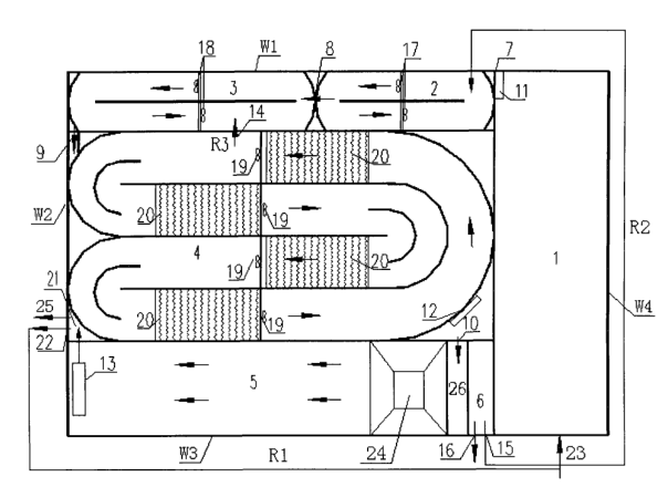
3)厌氧微孔曝气氧化沟技术
厌氧微孔曝气氧化沟反应器及污水处理方法,该反应器包括相互邻接且彼此之间水力连通的多个处理区域,包括水解区、厌氧区、缺氧区、好氧区和沉淀区。在该沉淀区和该水解区之间设置有上清液回流通道,使得该沉淀区中排出的含有硝酸盐的上清液回流至该水解区中,并通过利用反硝化菌的作用进行反硝化处理来进行脱氮的工程。本反应器集水解、厌氧、缺氧、好氧与沉淀系统于一体,大大节省了占地面积,降低了投资基建费用。所采用的内外回流系统提高了池容利用率,增强了脱氮除磷的效果,降低了处理费用。

厌氧微孔曝气氧化沟反应器
1.水解区 2.厌氧区 3.缺氧区 4.好氧区 5.沉淀区 20.微孔曝气装置
4)颗粒污泥膨胀床(EGSB)反应器
颗粒污泥膨胀床( Expanded Granular Sludge Bed , 简称EGSB) 反应器是在上流式厌氧污泥床(UASB) 反应器的研究成果的基础上,开发的第三代超高效厌氧反应器。反应器是由底部的污泥区和中上部的气、液、固三相分离区组合为一体,通过回流和结构设计使废水在反应器内具有较高上升流速,内部颗粒污泥处于膨胀状态的有机物降解高塔式厌氧装置。内部装填有比表面积很大的惰性载体颗粒、厌氧微生物附着其表面生长,且反应器内具有较高上升流速使内部载体颗粒处于流化状态。三相分离器安装于厌氧污泥床中,收集反应区产生的沼气、沉淀悬浮物、排放出水,实现气体、固体、液体分离。
EGSB反应器对畜禽养殖废水等高浓度有机污染物废水的COD去除率达90.0%以上,有机负荷率是传统好氧工艺的5 ~10倍。


生物载体 三相分离器

反应器
5)高浓度有机废水厌氧发酵技术
采用中温厌氧发酵(CSTR)工艺,容积产气率高,有机负荷高,发酵温度33~35℃。采用设备化发酵池体,搪瓷拼装罐等设备形式,罐体容积可达2500m3以上,机械搅拌装置以及液压搅拌装置,提高单位容积产气率;结合一体化脱硫、脱碳及压缩装置,提高沼气纯度;干式膜储气装置,解决沼气储存难的问题。此厌氧发酵技术具有处理效率高、运行管理简单等优点,广泛应用于畜禽废水处理和高浓度工业有机污水处理领域。
6)连续曝气生物滤池和连续砂滤技术
曝气生物滤池是集生物氧化和截留悬浮固体一体的生物膜污水处理工艺,污水中的污染物被多孔滤料层截留并被滤料上附着的生物降解转化。研究发现,配置一套洗料器,实现了滤料清洗自动清洗并循环利用,使得曝气生物滤池连续运转。曝气生物滤池的应用范围较为广泛,其在水深度处理、微污染源水处理、难降解有机物处理、低温污水的硝化、低温微污染水处理中都有很好的、甚至不可替代的功能。
连续砂滤技术与连续曝气生物滤池原理相同,不再使用多孔生物滤料,改用石英砂作为滤料层。滤料自清洗,无需反冲;滤池出水即可作为清洗水使用,节约用水;滤池出水悬浮物浓度低。主要应用于污水深度处理和高悬浮物浓度污水处理。

连续曝气生物滤池工艺
1.进水系统 2.曝气系统 3.多孔生物滤料 4.反硝化脱氮 5.出水槽 6.清洗系统
7)一体化污水处理技术
一体化污水处理工艺由预处理系统、膜生物反应器(FMBR)和深度处理系统组成。FMBR污泥以兼性厌氧菌为主,大分子有机污染物在较高浓度兼性厌氧菌作用下被逐步降解为小分子有机物,最终氧化分解为二氧化碳和水等稳定的无机物质。当系统内新增细胞等于代谢速率时,有机污泥零增长,系统污泥负荷维持在0.072kg(COD)/kg(MLSS·d)。膜生物反应器能够将细菌截留下来,污泥浓度随进水浓度在比较宽的范围内波动,实现有机剩余污泥近零排放,维持较长污泥龄,抑制了丝状菌的增殖,解决了污泥膨胀问题。本技术突破了传统生物工艺“排泥除磷”的方式,有机磷转化为磷化氢及联磷后被空气迅速转化为磷的氧化物,进入自然界磷的大循环中,实现了污泥减量及高效除磷的统一。同时实现了短程硝化、厌氧氨氧化作用,大幅降低曝气能耗和反硝化所需碳源,完成高效脱氮。 本工艺广泛应用于村镇污水处理、人口密集区污水处理工程中,配套深度处理设备,可实现中水回收利用。

一体化污水处理工艺